技术文章文献

口腔灯阴影测试工装‌

2026-04-09 17:08:41

分享到: 

执行标准:

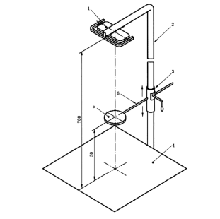
YY/T 1120-2021中7.3.8

1.png

技术参数:

圆盘直径:φ 20mm (厚:1mm)

距离测量屏:50mm

测量屏:带直角坐标系

光源距屏:700mm

工装包含柱、调节用滑动环、测试屏、杆

image.png

配置清单:

工装一套,合格证一份,铭牌一份。





上一篇:制备吸水性和溶解性试样的不锈钢模具和盖子
下一篇:牙科治疗机压力损失测试仪


友情链接:
程斯智能 |上海程斯智能科技有限公司 |
上海程斯智能科技有限公司

上海程斯智能科技有限公司/东莞程斯科学仪器有限公司分公司

手机:13386202197

电话:021-57853778

邮箱:csizhinengzwg@foxmail.com

地址:上海市松江区洞业路999号1-C幢/广东省东莞市厚街镇莞太路厚街段676号17楼

©上海程斯智能科技有限公司 备案号:沪ICP备19009154号-1站点地图?

公司主要产品:鲁尔圆锥接头测试仪、针管韧性测试仪、耐碎石冲击试验机、电动划格试验仪、拉力机、隔绝式压缩氧自救器气密性测试仪

在线客服