搜索关键词:
产品名称,产品种类,型号,
测试标准或规范,生产商,技术种类,应用等等

口腔灯阴影测试工装
返回
分享到
执行标准:
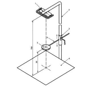
YY/T 1120-2021中7.3.8

技术参数:
圆盘直径:φ 20mm (厚:1mm)
距离测量屏:50mm
测量屏:带直角坐标系
光源距屏:700mm
工装包含柱、调节用滑动环、测试屏、杆

配置清单:
工装一套,合格证一份,铭牌一份。

执行标准:
YY/T 1120-2021中7.3.8

技术参数:
圆盘直径:φ 20mm (厚:1mm)
距离测量屏:50mm
测量屏:带直角坐标系
光源距屏:700mm
工装包含柱、调节用滑动环、测试屏、杆

配置清单:
工装一套,合格证一份,铭牌一份。